Säkerhetskrok SLS POWERTEX (svivlande lekare)

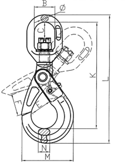
POWERTEX säkerhetskrok med svivlande lekare ingår i Powertex G10 sortiment av kättingkomponenter. Den självlåsande kroken stänger och låser sig själv vid lyft, vilket gör den till en säker lyftkrok. Kroken kan öppnas genom att trycka på spärren på baksidan av kroken. Spärren kan inte

Visa mer

Part code:
POWERTEX säkerhetskrok med svivlande lekare ingår i Powertex G10 sortiment av kättingkomponenter. Den självlåsande kroken stänger och låser sig själv vid lyft, vilket gör den till en säker lyftkrok. Kroken kan öppnas genom att trycka på spärren på baksidan av kroken. Spärren kan inte tas bort. Ögat har en svivlande lekare och kan roteras när kroken är obelastad, vilket möjliggör positionering före lyft.
Finns tillgänglig för kätting från 6 mm upp till 20 mm och med WLL från 1,4 ton upp till 16 ton.
Finns även med kullager (POWERTEX SLS-B).
Fördelar med Powertex sortiment i klass 10:
  • 25% högre kapacitet jämfört med traditionella komponenter i klass 8. 
  • Alla POWERTEX G10-komponenter är pulvermålade i lysande rött.
  • Multifunktionella huvudlänkar och komponenter ingår i sortimentet för att möjliggöra snabb och kostnadseffektiv montering av kättingredskap.
  • Komponenterna uppfyller EN 1677 del 1/2/3/4 +25% WLL.
  • Varje smidd komponent testas för sprickdetektering, och prover genomgår provbelastningstester.
  • Varje komponent typgodkänns i fabriken och är utmattningsklassad till 20,000 cykler vid 1.5 gånger WLL.
  • Full spårbarhet genom batchnummer.
  • Reservdelar finns tillgängliga.
  • Alla komponenter är fria från krom 6.
  • POWERTEX 2.2-certifikat medföljer varje låda med komponenter.
  • Komponenterna kan även användas med Klass 8-kätting enligt EN 818-2. I sådana fall måste kättingslingan klassas som Klass 8 i enlighet med EN 818-4.
  • Märkning: Enligt standard, POWERTEX + Modell (SLS-6-10) + spårbarhetskod.
  • Arbetstemperatur: -40°C upp till +200°C utan reduktion av WLL
  • Ytbehandling: Pulverlackerad i lysande rött.
  • Standard: AS 3776
  • Standard: EN 1677-3
    (+ 25% WLL)
  • Säkerhetsfaktor: 4:1
  • Klass: 10